流体监测技术型设备的专业提供商

产品搜索
友情链接
在线客服
 工作时间
周一至周五 :8:30-17:00
 联系方式
电话:029-85643484
邮箱:puluody@126.com

液氨采样钢瓶的使用方法

作者:普洛帝


Pull系列液氨采样钢瓶完全符合GB8570《液体无水氨实验室样品的采取》国家标准。适用于液体无水氨样品的采取。

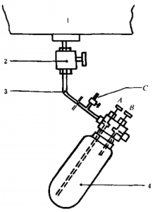
一.液氨采样钢瓶结构及使用方法:  

1.打开针形阀A(1)和B(2,将钢瓶与连接管相连,关闭针形C,在室温下用干燥氮气吹洗净化装好的取样装置。

2.将取样装置移人105-110℃ 的恒温干燥箱中,经由与连接管相连和通过恒温干燥箱壁孔的进气管继续用干燥氮气吹洗至少30 min。

3.关闭针形阀A(1),拆下钢瓶,连接真空泵于出口针形阀B(2)上,抽真空钢瓶内压力达l00Pa 或更低,保持此压力不少于30min。

4.关闭针形阀B(2),冷却钢瓶。

5.在开启液氨容器液相阀前,先打开针形阀C,使与大气相通。小心开启液氨容器液相阀,让液氨流出,将存在于连接管中的空气经针形阀C排放掉,由液氨的自由流动净化取样管后,关闭针形阀C,打开针形阀A,让液氨流人钢瓶至规定的安全灌装量。关闭针形阀A(1)和液氨容器液相阀,打开针形阀C,在连接管中的液氨排放后,拆下液氨钢瓶。

1742286552654.jpg

二.液氨采样钢瓶的使用要求:

所用连接件对氨都应是耐腐蚀的,例如硬橡皮、高铅合金,不用含铜材料。

1.为了确保采得符合要求的代表性试样以及采样安全,采样人员应严格遵循安全操作规程,应具备必需的经验和技巧。采样时必须注意:采样人员应避免皮肤直接接触介质,应佩戴手套和防护眼镜,避免吸入蒸气!

2. 当试样处于流动的情况下。从管线上采样时,管线内的压力应高于蒸气压力,以避免出现两相的情况。

3.在清洗采样器和排出采样器内样品期间,处理废液及蒸气时要注意安全,排放点必须有安全设施并遵守安全环保规定。


文章分类: 技术应用
分享到: